| 產品描述 | 技術參數 | 包裝參數 | 技術文檔 | |||||||||||
|
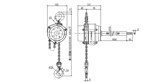
EHMF充電式手拉葫蘆介紹 【產品名稱】EHMF充電式手拉葫蘆 【產品品牌】日本ELEPHANT象印 【產品規格】125kg-380kg 【產品型號】EHMF-12.5/EHMF-20/EHMF-38 【產品配件】EHMF充電式手拉葫蘆配件可以單獨訂購 【產品來源】手拉葫蘆
EHMF充電式手拉葫蘆優勢 ●只需要將充電式電動螺絲刀連接到專用動力軸(1.5米)上,就可以輕松的進行遠程操作象印EHMF充電式手拉葫蘆 ●無需手動操作,可以進行遠程操作,所以即使在狹窄或低凈空的地方也能順利的進行工作 ●象印EHMF充電式手拉葫蘆不使用電動螺絲刀,也可以手動操作,另外,不用通過動力軸,也可以使用電動螺絲刀直接插入本體 ●EHMF-38型充電式手拉葫蘆采用了使用壽命更長的鏈條
EHMF充電式手拉葫蘆驅動方式
|
||||||||||||||
|
相關產品
|














